Обладнання підготовчого цеху.
1.Вступ
2.Загальні відомості про підготовче виробництво
3. Підйомно-транспортне обладнання, яке в підготовчому цеху
4.Обладнання для кількісної приймання тканини
Конспект
1.Вступ Підготовчо-розкрійне виробництво (ПРП) займає одне з найважливіших місць у процесі виготовлення швейних виробів. На його етапах забезпечується раціональне використання матеріалів, висока якість крою на базі широкого застосування комп'ютерної техніки та високопродуктивного обладнання, закладаються раціональні методи обробки швейних виробів, що дозволяє зробити їх виготовлення високоефективним. Здійснюється технологічний процес підготовчо-розкрійного
виробництва в експериментальному, підготовчому і раскройном цехах швейного підприємства. У розкрійний цех з експериментального надходять лекала, трафарети і светокопіі контурів лекал для розкрою настилів і полотен з дефектами, для вирізання деталей на стаціонарних стрічкових машинах.
2.Загальні відомості про підготовче виробництво. Завдання підготовчого виробництва на швейному підприємстві полягає в ритмічному забезпеченні матеріалами розкрійного цеху. З метою економії матеріалів та покращення їх використання в підготовчому виробництві проводяться кількісна та якісна оцінка матеріалів, їх комплектування, розрахунок шматків тканини та інших матеріалів. Особливе значення має створення певних запасів матеріалів, які не тільки гарантують безперебійну роботу швейної фабрики, але істотно впливають на економію використання
матеріалів. На сучасних швейних фабриках підготовче провадження виділено в самостійні підготовчі цехи. Виробничий процес підготовчого цеху розчленований на наступні операції:
- Приймання від постачальників матеріалів з перевіркою документації та цілісності тари;
- Розпакування матеріалів; - Зберігання розпакованих матеріалів;
- Кількісна та якісна оцінка матеріалів (вимірювання довжини і ширини тканин та інших матеріалів, контроль);
- Зберігання переглянутих матеріалів;
- Конфекціонірованіе;
- Розрахунок шматків тканин та інших матеріалів;
- Комплектування матеріалів для відправки в розкрійний цех. На швейних фабриках в підготовчому цеху застосовуються різноманітні засоби механізації для переміщення, укладання на зберігання рулонів тканини та інших матеріалів. Створюються і застосовуються механізовані й автоматизовані склади для зберігання матеріалів.
3. Підйомно-транспортне обладнання, яке в підготовчому цеху
Підйомно-транспортне обладнання, яке в підготовчому цеху швейних підприємств, підрозділяється на дві великі групи: конструктивно пов'язане зі складськими приміщеннями (скати, тельфери, елеватори та ін); не пов'язане зі складським приміщення, тобто транспортні засоби з вільним переміщенням (безрейкові і ручні транспортні засоби). Скати з вільним пробігом вантажу є найбільш
простим транспортним устаткуванням (малюнок 1). Довжина шляхувільного ковзання вантажу залежить від маси вантажу і виду тари. Кут нахилу ската визначається експериментально і залежить від виду матеріалу покриття ската і матеріалу для упаковки тканини. Роликовий конвеєр являє собою ряд роликів 1 (малюнок 2), осі яких закріплені на нерухомій рамі 2, встановленої на регульованих по висоті стійках 3. Ролики вільно обертаються навколо своєї осі.
Відстань між роликами 50-100 мм, ширина роликових конвеєрів становить 450-500 мм. Для переміщення вантажів по дузі застосовують конічні ролики. Радіус дуги повинен становити не менше трьох-чотирьох довжин ролика. Для перевезення вантажів масою 100 кг і більше замість гравітаційних роликових конвеєрів застосовують роликові конвеєри з приводом. Ролики на підшипниках приводяться в рух від ланцюгової передачі. Стаціонарний стрічковий конвеєр являє собою замкнуту стрічку, що огинає два барабани, встановлених на кінцях рами. Один барабан,
з'єднаний системою передач з електродвигуном, є провідним, а інший, розташований на протилежному кінці рами, - холостим. Стрічки для конвеєра можуть бути різної ширини - від 300 до 1200 мм. Для пересування стрічки і знаходиться на ній вантажу на верхній частині рами конвеєра розташовані робочі ролики на рівній відстані один від одного. У нижній частині рами встановлені холості ролики для направлення і підтримки незавантаженій стрічки. Кут нахилу стрічкового конвеєра залежить від маси і форми вантажів. Стаціонарні стрічкові конвеєри можуть мати довжину
від 5 до 20 м, висота розвантаження від 1,3 до 7 м, швидкість руху стрічки від 0,63 до 4 м / с. Ручні візки випускаються декількох типів. До найбільш простих належать візки ТС-300 і МС-500. Візок з підйомною платформою ТПП (малюнок 3) призначається для ручного транспортування вантажів.
При завантаженні візок з опущеною платформою підкочують під вантажний стіл до виступу, що знаходиться в передній частині рами візка. Користуючись рукояткою підйомного пристрою, піднімають платформу разом з вантажним столом доти, поки затримує гак не захопить поперечний валик платформи для попередження її опускання. При такому положенні платформи відбувається транспортування вантажу.
Малюнок 2 - Роликовий конвеєр
Малюнок.3 Візок для транспортування вантажу
Візок для перевезення піддонів ТШП-94 призначена для віку порожніх піддонів від промерочная-разбраковочних машин в зону розпакування тканини. Візок складається з плоскої платформи 3 (малюнок 4), до якої до репятся поворотні 2 і неповоротні 1 колеса. До платформи кріпиться рукоятка 4, яка може займати кілька фіксованих положень. На візок можна укладати піддони У27-71 всіх типорозмірів зі знятими огородженнями. Рисунок 4 - Візок ТШП-94 для перевезення порожніх піддонів Піддон У27-71 призначено партионного зберігання рулонів тканин і штучних
виробів. Піддон являє собою платформу на суцільнозварний рамі 1 (малюнок 5) і опорах 3. У втулки рами на коротких або довгих сторонах платформи вставлені огорожі Ш огрядні вироби укладають уздовж або поперек платформи в залежності від їх габаритів і прийнятої схеми укладання. Рисунок 5- Піддон У27-71 Акумуляторні візки призначені для перевезень вантажів між цехами і в межах площі складу. Візок АТ-500 має підйомну платформу, ЕК-2 - стаціонарну платформу, ЕТВ-0, 5 - вила
для навантаження і переміщення вантажів. Автонавантажувач 4016 призначений для
навантаження і розвантаження стандартних залізничних контейнерів з автомобільних платформ і їхніх причепів, залізничних платформ і напіввагонів. Експлуатується на відкритих майданчика твердим покриттям. Робочим органом автонавантажувача є консольна стріла змінного струмувикочування, але можуть бути вила чи ківш місткістю 0,57 м 3.
Малюнок 7 - Електроштабелер ЕШ-181-1, 8 Малюнок 6 - Електронавантажувач 4004-А Електронавантажувачі (малюнок 6) призначені для навантаження, вертикального і горизонтального переміщення вантажу, штабелювання або укладання вантажу на машину. Робочим органом є вила. Трак (малюнок 7) відносяться до підйомно-
транспортним машинам, особливість яких полягає в тому, що вантажопідйомник з вилами можна висувати на спеціальному візку до виходу вил з межі рами машини. Електроштабелер має електричний привід, що живиться від акумуляторних батарей. Нерухомі стрічкові конвеєри призначені для транспортування тканин та інших вантажів при доставці їх від автомашини в Розпаковуючі відділення підготовчого цеху. Конвеєр являє собою замкнуту текстильну стрічку, натягнуту на приводний і натяжна барабан. Барабани встановлені на зварний рамі, шарнірно закріпленої на візку для переміщення конвеєра в межах складу. Грузовоз ТШП-82 являє собою самохідну рейкову візок (малюнок 8) з плоскою платформою, яка може бути забезпечена причепом. Грузовоз призначений для транспортування універсальних контейнерів з рулонами тканини абоготовими виробами.
Рисунок 8 - Грузовоз ТШП-82
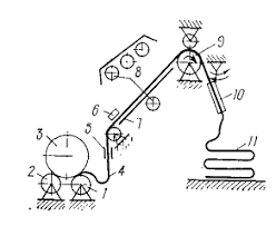
Тунельний грузовоз КШП-53 є самохідної рейкової візком з плоскою платформою, реверсивним електроприводом і системою блоків, на яких розміщується шлейфовий кабель для живлення електродвигуна. Вироби закріплюють ременями на платформі Грузовоз. Штабелер ТШП-89 являє собою самохідну рейкову візок 4 (малюнок 9) з підйомною платформою 3, переміщається по напрямних 1. На платформі 3 розміщується робітник-оператор. Для безпеки оператора платформа має поручні і захисну огорожу 2.
Малюнок 9 Штабелер ТШП-89
На передній частині платформи є пристрої для захоплення візків, навантажених рулонами тканини. Переміщення штабелера здійснюється від електроприводу через фрикционную передачу, передача руху на механізм підйому каретки через канат. Опорні крани-штабелери складаються з моста 1 (малюнок 10) і кранової візки 2 з поворотною вертикальної колоною 3, по якій переміщається вантажний захоплення 4. Міст крана-штабелера пересувається по рейкових шляхах, покладеним на стелажах. Підвісні монорельсові дороги складаються з електроталі (малюнок 11) і механізму
пересування талі по монорельсу. Талі призначені для підйому (опускання) і горизонтального переміщення вантажів.
Малюнок 10 - Опорний кран-штабелер
Малюнок 11 – Електроталь
4. Обладнання для кількісної приймання тканини. Контроль довжини і ширини тканини є обов'язковим для всіх швейних підприємств. Довжина тканини в шматку визначається як відстань між початком і кінцем шматка, ширина - як відстань між двома краями тканини разом із крайками або без них в напрямку, перпендикулярному ниткам основи. Вимірювання розмірів шматка тканини виконують на горизонтальному промерочная столі нескладною вимірювальною лінійкою з ціною
поділки 1 мм. Крім промерочная столу, застосовують промерочная або промерочная-разбраковочную машину, помилка вимірювання на якій складає ± 0,3% в порівнянні з результатами вимірювання на промерочная столі. Кришка промерочная столу (рисунок 12) має форму прямокутника довжиною 3000 мм, а ширина більше ширини вимірюваних тканин. У кришці столу монтуються вимірювальні лінійки з ціноюподілки 1 мм: дві лінійки по довжині столу, одна - по ширині.
Малюнок 12 - Схема вимірювання шматків тканини на примірювальному столі.
При визначенні довжини тканини на промірювальному або промірювально -вибракувальній машині довжина шматка тканини реєструється лічильником. Лічильник 11 промірювальної машини МП-1 (рисунок 13) приводиться в дію від барабана 12. Він реєструє довжину пробігу транспортнихКардострічки 10, які огинають барабани 9 і 12. Рулон тканини 3 (рисунок 14) отримує обертання від
барабанів 1 і 2. Відмотати від рулону частину тканини простягається через вирівнювач по ширині 5 до оглядового екрана 7 і заправляється між транспортуючими валами 9. Обертаючись, вали переміщують тканина по екрану 7 і подають тканину в укладальник 10 для складання її «в книжку» 11. У нижній частині оглядового екрану знаходяться пристрій 6 для вимірювання ширини тканини та пристрій для вимірювання довжини тканини.Так як промерочная-разбраковочная машина служить і
для візуальної якісної оцінки тканини, то для освітлення поверхні тканини застосовуютьсясвітильники 8.
Малюнок 13 - Схема промірювальної машини










Немає коментарів:
Дописати коментар